水力控制阀系列

HS41X防污隔断阀
技术规范:
产品型号:HS41X(A)
公称通径:DN25~DN500 (1"~20")
公称压力:PN10/16
工作温度:0°C~85°C
适用介质:水
制造标准:GB/T25178
阀体材质:铸铁、球墨铸铁、铸钢、不锈钢

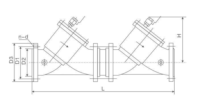
主要外形连接尺寸
| 型号 | DN | 16-AL | 16-L | D | φ | n-d | h2 |
HS41X-16A(安全型) HS41X-16(普通型) | 50 | 455 | 410 | 165 | 125 | 4-φ18 | 190 |
| 65 | 480 | 430 | 185 | 145 | 4-φ18 | 200 | |
| 80 | 570 | 500 | 200 | 160 | 8-φ18 | 225 | |
| 100 | 710 | 640 | 220 | 180 | 8-φ18 | 248 | |
| 125 | 800 | 730 | 250 | 210 | 8-φ18 | 276 | |
| 150 | 910 | 830 | 285 | 240 | 8-φ23 | 308 | |
| 200 | 1090 | 1000 | 340 | 295 | 12-φ23 | 356 | |
| 250 | 1315 | 1200 | 405 | 355 | 12-φ25 | 410 | |
| 300 | 1475 | 1360 | 460 | 410 | 12-φ25 | 485 | |
| 350 | 1690 | 1560 | 520 | 470 | 16-φ25 | 528 | |
| 400 | 1860 | 1720 | 580 | 525 | 16-φ30 | 595 | |
| 500 | 2120 | 1960 | 715 | 650 | 20-φ34 | 665 |