法兰连接阀门系列

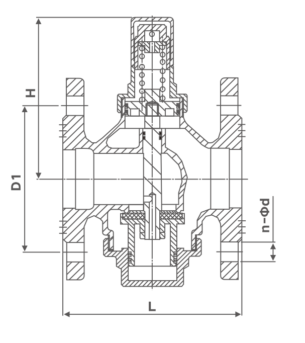
黄铜活塞式可调减压阀 (Y43X-16T)

技术规范:

公称压力:PN1.6MPa
工作介质:水
工作温度:0℃左进口压力为1.6MPa,出口压力调节范围为0.1~0.8MPa

产品详情

image.png

DNLHMA
501441331254-Φ18
651801771254-Φ18