其他产品系列

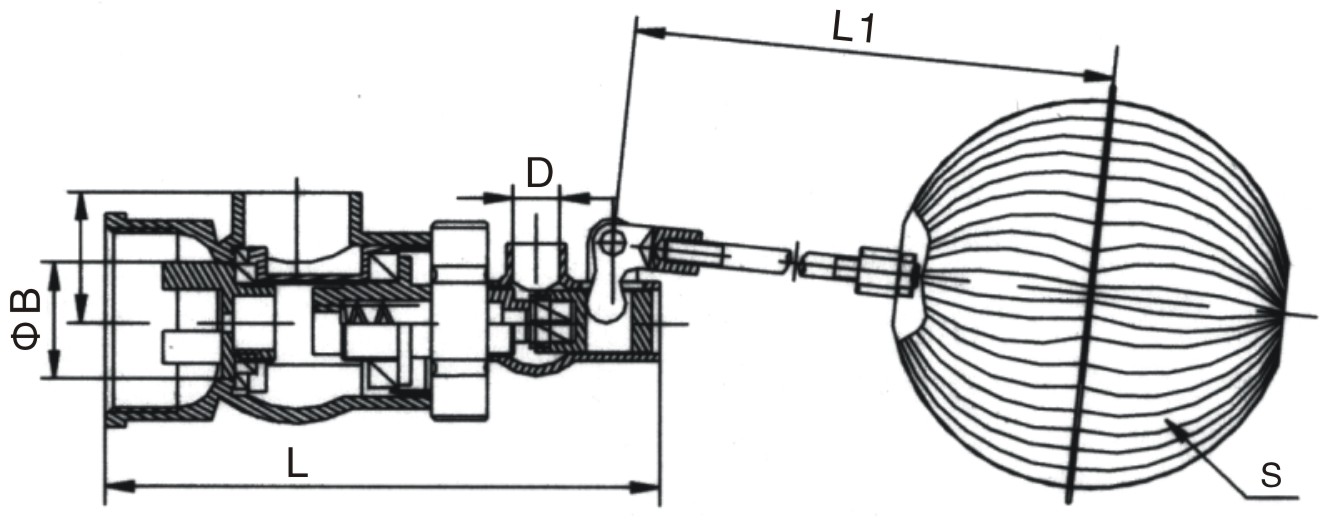
KXL-X1黄铜浮球阀
技术规范:
公称压力:0.04MPa≤PW≤0.6MPa
工作介质:水
工作温度 :0℃≤t≤60℃
管螺纹标准:符合ISO228标准

DN(mm) | NPS(in) | L | L1 | H | S | ΦB |
40 | 11/2 | 141 | 192 | 29 | 100 | 30 |
50 | 2 | 142 | 192 | 36.8 | 100 | 30 |
80 | 3 | 210 | 192 | 65 | 100 | 60 |
100 | 4 | 233 | 192 | 70.3 | 100 | 60 |
上一个:KXF-X1黄铜浮球阀
下一个:718压差阀