Special for central air conditioning pipeline

768Electric Two-way Valve (johnson Model)
Technical parameters:
Nominal pressure: PN1.6MPa
Working medium: cold water, hot water
Working temperature: -2℃≤t≤95℃
Power supply voltage: 24VAC, 110VAC, 220VAC
Pipe thread standard: in line with ISO228 standard

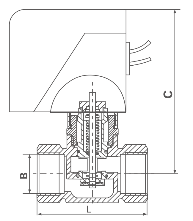
| DN(mm) | NPS(in) | 连接螺纹 Connection thread | L | B | C | |||||
| 15 | 1 /2 | RP1/2" | 58 | 19.1 | 100 | |||||
| 20 | 3/4 | RP3/4" | 67 | 24 | 104.5 | |||||
| 25 | 1 | RP1" | 90 | 30.5 | 109.5 | |||||